制藥凈化車間設計不僅要遵守一般凈化車間設計常用的設計規范和規定,而且要遵守與潔凈廠房設計有關的設計規范和規定。藥品生產對環境的潔凈等級要求與藥品的品種、劑型和生產特點有關。
按制法和所用輔料的不同,丸劑一般可分為蜜丸、水蜜丸、水丸、糊丸、濃縮丸、蠟丸、微丸和滴丸等劑型,其生產工藝具有許多類似之處。下面以蜜丸劑、水丸劑和滴丸劑為例,簡要介紹丸劑生產對制藥凈化車間的潔凈等級要求。
一、蜜丸劑生產對制藥凈化車間的潔凈等級要求
蜜丸劑是以蜂蜜為輔料而與藥材粉末制成的丸劑。蜜丸劑成品一般為柔軟的固體,單粒丸重為2.5~15g。
蜜丸劑的主要生產工序包括煉蜜、藥粉混合、合坨、制丸、內包裝、封蠟和包裝等,其生產工藝流程及對環境的潔凈等級要求如圖1所示,其中藥粉混合、合坨、制丸、內包裝和封蠟工序應在不低于D級的潔凈環境中進行。
圖1
1、滅菌消毒 將制丸室、包裝室及其中的設備清掃并擦拭干凈。攪拌機、蜜丸機、貯藥丸柜、滅菌包裝柜等,可用75%的乙醇溶液擦拭或先用噴霧滅菌,然后再用紫外線燈滅菌30min或用乳酸蒸汽滅菌。
將藥粉連同布袋一起放入消毒鍋內,以110℃的高壓蒸汽滅菌30min,備用。對于揮發性藥粉,可先將其鋪在藥盤內,厚度約1m然后用紫外線滅菌30min,并經常翻動。
2、混合 按工藝要求用混合機將藥粉混合至規定程度。對于易揮發藥物,應采用封閉操作,以防藥效散失。
3、煉蜜 將等體積的60~70℃的熱水加入蜂蜜中,攪拌溶解后靜置24h,用100目篩過濾,取濾液進行熬煉。熬煉過程中應注意控制溫度、時間和蜂蜜的濃度。
4、合坨 向混合后的藥粉中加入煉好的蜂蜜,并在一定溫度下合成坨
5、制丸 包括分坨料、續坨、刷油、制丸條、制丸等環節。
6、包裝 操作人員將雙手洗凈,并浸泡于75%的乙醇溶液中消毒3min,瀝干后,利用無菌包裝柜包好每一個藥丸。再將包好的藥丸放入蠟殼內蠟封,然后裝入紙盒和包裝箱即得成品。
二、水丸劑生產對制藥凈化車間的潔凈度等級要求
水丸劑是以水或根據處方用黃酒、稀藥汁、糖液等為輔料而與藥材粉末制成的丸劑,其成品體積小而干燥。水丸劑的主要生產工序包括制丸、一次選丸、干燥、包衣、二次選丸、裝丸和包裝等,其生產工藝流程及對環境的潔凈等級要求如圖2所示,其中制丸、一次選丸、干燥、包衣、二次選丸、裝丸工序應在不低于D級的潔凈環境中進行。

圖2
1、制丸 用塑制法或泛制法制備水丸。
2、干燥 在規定溫度(通常為60℃)下對水丸進行干燥。干燥過程中,應及時翻動水丸,并經常檢測其含水量。
3、包衣 按工藝要求配制粘合劑及包衣材料利用包衣設備為制好的水丸包衣。
4、包裝 包括裝丸、貼簽、裝盒、裝箱等環節。
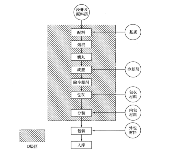
三、滴丸劑生產對制藥凈化車間的潔凈等級要求
滴丸劑是采用滴制法制備的丸劑,即將固體或液體藥物與適當基質加熱熔化混勻后,滴入不相混溶的冷凝液中,經收縮冷凝而制成的球形或扁球形小丸狀制劑。滴丸劑的主要生產工序包括配料、熔混、滴丸、成型、除冷卻劑、包衣、分裝和包裝等,其生產工藝流程及對環境的潔凈等級要求如圖3所示,其中配料、熔混、滴丸、成型、除冷卻劑、包衣和分裝工序應在不低于D級的潔凈環境中進行。
1、配料和混合
按生產工藝規程準確稱量固體或液體藥物以及基質,按工藝規程混合后一起加熱,融化后攪拌均勻,必要時過濾。
滴丸生產中的混合又稱為熔混,它是生產滴丸的關鍵工序。在此工序中,應注意藥粉的細度,并按順序投入藥物。此外,還應嚴格控制升溫時間、最高溫度、攪拌速度及蒸汽壓力等。
2、滴丸和成型
將混勻的液態藥物轉移至帶保溫的滴制裝置中,按92~95滴min-1的速度將藥液滴入已預先冷卻的冷卻液中冷凝。

圖3
在滴制過程中,滴丸的丸重與圓整度是影響滴丸質量的重要因素。滴丸時應嚴格控制熔化藥物的溫度,且輸送管道和保溫槽應有保溫措施,并嚴格按工藝操作規程控制滴速、壓力和液面高度。成型時應嚴格控制冷卻劑的溫度、流量和液面高度。此外,輸送冷卻劑也應有相應的保溫措施。
3、洗滌和選粒除去依附于滴丸表面的冷卻劑,并按工藝規程選擇合適的篩網對滴丸進行篩選。
4、包衣按工藝要求配制粘合劑及包衣材料,利用包衣設備為制好的滴丸包衣。
5、包裝和入庫按工藝規程將滴丸裝瓶或采用鋁塑包裝,并將檢驗后的合格品入庫。